2.采用優質鍍鋅板機殼,冷凝水盤采用模壓工藝一體成型,無焊縫、焊點、符合防火規范的保溫材料整體連接于水盤。
3.體積小: 機體設計輕巧。排水管及線路安裝簡便,左右接管及回風方式可隨時變換,以配合現場情況。機組能安裝于任何空間場所。
4.效率高: 新型的脹管工藝,保證了換熱器銅管和鋁箔的緊密接觸,傳熱性能好;
5.噪音低: 合理的風機與氣流結構設計,優質的吸音保溫材料,使機組噪音低于標準1-3dB(A);
6.能耗低: 風機與換熱器合理匹配,三檔可調風量,使風機用電較省。
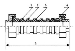
主要材料表:
|
序號
|
名稱
|
材料
|
|
1
|
內層膠
|
耐熱橡膠
|
|
2
|
外層膠
|
耐老化橡膠
|
|
3
|
增強層
|
尼龍簾布
|
|
4
|
螺紋活接頭
|
可鍛鑄鐵
|
上一篇:HQ、HQA型阻尼彈簧懸吊減振器
下一篇:A型吊架






